元旦特惠活动进行中
活动一【全场9折优惠码】 购买时使用优惠...
阅读更多 →实时同步平台公告、更新日志与服务通知
洞察每一次重要更新,掌握平台最新动态,保障您的开服体验始终领先
活动一【全场9折优惠码】 购买时使用优惠...
阅读更多 →近月来,相信有许多小伙伴都遭受了国外岩浆...
阅读更多 →关于支付接口调整及费率公示的官方通知 尊...
阅读更多 →1.控制面板已支持Https安全加密访问...
阅读更多 →修复[玩家管理器]中[背包管理器]物品贴...
阅读更多 →关于近期更新的通知 控制面板已正式完成升...
阅读更多 →原“整合包广场”升级迭代中,暂时将整合包...
阅读更多 →在您开始购买我司业务前,请观看并同意该政...
阅读更多 →关闭幻兽帕鲁服务器并更新配置的步骤 步骤...
阅读更多 →海绵联机服务器配置修改方案 海绵联机提供...
阅读更多 →管理员命令 进入控制台 下滑可以看到服务...
阅读更多 →本地存档上传至服务器 进行此操作之前 请...
阅读更多 →服务器存档位置下载到本地 服务器存档默认...
阅读更多 →设置定时重启备份 进入控制台找到定时指令...
阅读更多 →进入服务器 前往控制台 右上角找到服务器...
阅读更多 →防止服务器被黑客入侵的安全指南 如果您是...
阅读更多 →🩹服务器卡顿诊断 请仔细观看本文档,...
阅读更多 →🌱常见崩溃 | 输入命令无反应 控制...
阅读更多 →🌱常见崩溃 | 开服卡住不动 服务器...
阅读更多 →🌱常见崩溃 | JAVA版本错误 J...
阅读更多 →🌱常见崩溃 | 缺少启动核心 缺少启...
阅读更多 →🎮高级 | 使用MCDR进行开服 使...
阅读更多 →🎮高级 | Fabric服务端开服 ...
阅读更多 →🎮高级 | 其他forge整合包开服 ...
阅读更多 →🎮高级 | 适配大部分服务端的开服 ...
阅读更多 →🎮高级 | 手动备份服务器存档 手动...
阅读更多 →🎮高级 | java版优化指南 Ja...
阅读更多 →Java版服务器概念一览 服务器的使用离...
阅读更多 →🎮入门 | 基岩版开服教程 如何切换...
阅读更多 →🎮入门 | 服务器基础设置 Java...
阅读更多 →🎮入门 | 如何替换地图/存档 地图...
阅读更多 →🎮入门 | 实用指令大全 Minec...
阅读更多 →🎮入门 | 如何给服务器添加MOD ...
阅读更多 →🎮入门 | 简易部署开服 登录后简易...
阅读更多 →🎮入门 | 如何登录控制台 完成付款...
阅读更多 →💝合理的配置选择 合理的配置选择可以...
阅读更多 →⚔️高级功能 | 无端口域名 无端口...
阅读更多 →⚔️功能 | SFTP信息与重装 S...
阅读更多 →⚔️功能 | 网络设置 网络设置 点...
阅读更多 →⚔️功能 | 服务器备份 服务器备份
阅读更多 →计划任务 Cronjob 是一种在类 U...
阅读更多 →在线文件管理
阅读更多 →⚔️功能 | 简易部署 简易部署 该...
阅读更多 →服务器配置
阅读更多 →⚔️功能 | 玩家管理 玩家页面管理...
阅读更多 →控制台页面[1] 控制台页面[2]
阅读更多 →兑换获得的CDK 进入官网 找到积分中心...
阅读更多 →使用优惠券兑换服务器 在积分商城处兑换优...
阅读更多 →自助产品升级 进入官网后 点击管理游戏服...
阅读更多 →海绵科创免费服务器兑换券获取及续费教程 ...
阅读更多 →好消息,好消息 海绵科创官方公众号正式...
阅读更多 →尊敬的“小海绵”们: 您好! 自2021...
阅读更多 →1.免费服务器持续放送 国庆节免费服...
阅读更多 →1. 概述 1.1. 为了更好的规范海绵...
阅读更多 →为了营造一个纯净、高效、健康的交流环境,...
阅读更多 →小海绵们大家好,在近期的时间里,我们针对...
阅读更多 →嘿!如果你是一名原创/搬运整合包作者,为...
阅读更多 →海绵联机港澳日韩加速计划 Q:加速计划主...
阅读更多 →在近期工作中,我们把所有已收录的整合包服...
阅读更多 →服务器优化及未来计划 免费服务器经历了多...
阅读更多 →暂无摘要
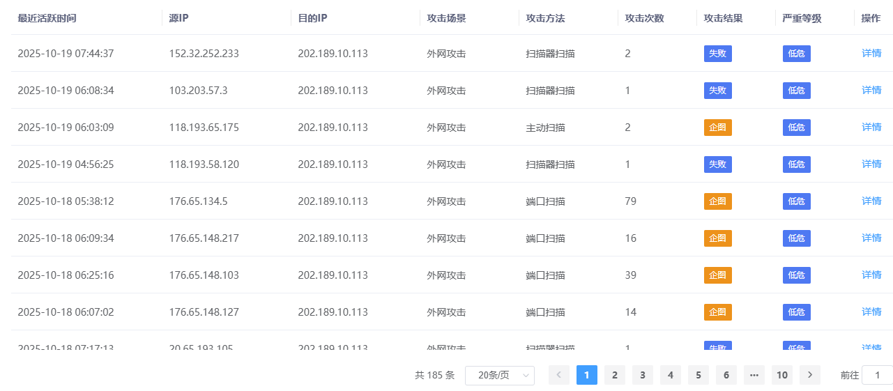
阅读更多 →近月来,相信有许多小伙伴都遭受了国外岩浆山毁服组织的侵入破坏。
如果您玩的是纯净版本:
1.一定要对服务器安装authme登陆插件,以及打开服务器白名单,来防止被黑客入侵
2.可以把服务器转成forge或Fabric类型的MOD服务器,并安装几个模组,因为入侵机器人默认使用的是纯净版本服务器,如果你是模组服务器则会避免掉机器人扫端口攻击
3.海绵科创官方通过调取机房异常流量防火墙数据,找到了疑似该组织的常用IP,并进行了记录,且已经在上层防火墙对这些IP进行了强制阻断。
如果您玩的是mod服务器或者整合包:
尽量开启白名单系统或者正版验证,该组织暂时没有听说过入侵模组服务器,因为这样成本可能会比较高。
海绵科创团队决定公开所有疑似该组织的扫端口IP,并进行常态化巡查,当出现新的IP进行扫端口攻击时,会把新的IP也同步发到本帖内。
IP表:
176.65.148.217
176.65.148.103
176.65.134.5
176.65.148.127
176.65.134.12
95.111.227.12
51.15.34.47


我们公开恶意IP,是为了让所有人都能规避这种情况的发生,如果你用的是VPS云或者是其他商家的面板,且没有防火墙安全组权限的话,也可以考虑把这些IP直接BANIP,但不确保有无实际作用。
最后,我们希望如果您的服务器不幸已经遭受到了攻击,可以把攻击时的服务器日志发送给我们,我们用于调取登陆IP并进行封禁,然后新的IP同步到本文章